Клиновая втулка тип 6413-OWS (китайского производства)
Клиновая втулка 6413-OWS — это такелажный элемент для формирования петли на стальном канате без необходимости использования пресс-форм или опрессовки. Изделие широко применяется в грузоподъёмном оборудовании, стропах, монтажных и такелажных работах, где требуется надёжное и безопасное крепление каната.
Модель 6413-OWS китайского производства изготовлена из высокопрочной стали с защитным покрытием, обеспечивающим устойчивость к атмосферной коррозии и механическим воздействиям. Конструкция втулки предполагает использование клина, который в процессе нагружения эффективно зажимает канат, обеспечивая прочное и стабильное сцепление.
Преимущества клиновой втулки 6413-OWS:
- Принцип клинового зажима: надёжная фиксация каната под нагрузкой за счёт самозаклинивающегося механизма.
- Быстрый монтаж и демонтаж: не требует сложного инструмента или пресс-оборудования.
- Долговечность: высокая износостойкость и стойкость к коррозии благодаря качественной стали и покрытию.
- Универсальность: подходит для различных типоразмеров стального каната.
- Экономичность: выгодное сочетание цены и эксплуатационной надёжности.
Втулка клиновая 6413-OWS подходит для:
- формирования петлевых узлов на канатах;
- изготовления строповых конструкций;
- монтажа грузоподъёмного и такелажного оборудования;
- работ на стройплощадках, производствах и складах.
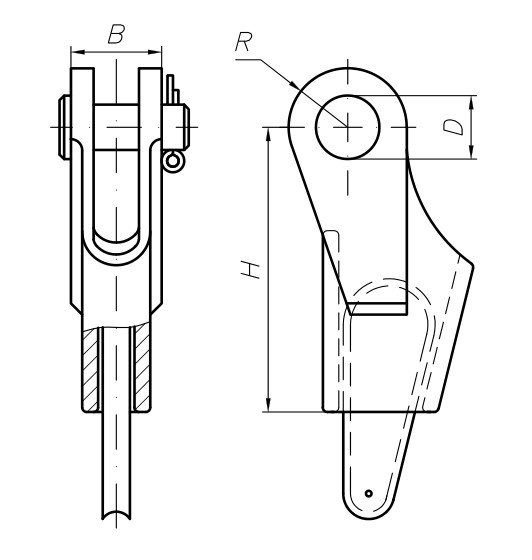
Артикул изделия | Рекомендуемый диаметр каната, мм | B, мм | D, мм | H, мм | R, мм | Рабочая нагрузка SWL, кг | Примерный вес, кг |
6413-OWS-6 | 6 | 29 | 16 | 105 | 16 | 300 | 0,9 |
6413-OWS-8 | >6〜8 | 31 | 18 | 125 | 25 | 525 | 1,2 |
6413-OWS-10 | >8〜10 | 38 | 20 | 120 | 25 | 1,0 | 1,4 |
6413-OWS-12 | >10〜12 | 44 | 25 | 155 | 30 | 1,5 | 2,1 |
6413-OWS-14 | >12〜14 | 51 | 31 | 185 | 35 | 2,0 | 3,7 |
6413-OWS-16 | >14〜16 | 60 | 35 | 195 | 42 | 2,5 | 6 |
6413-OWS-18 | >16〜18 | 64 | 37 | 195 | 44 | 3,0 | 8,2 |
6413-OWS-20 | >18〜20 | 72 | 39 | 220 | 50 | 3,5 | 10 |
6413-OWS-22 | >20〜22 | 76 | 41 | 240 | 52 | 4,0 | 13 |
6413-OWS-24 | >22〜24 | 83 | 52 | 260 | 60 | 5,0 | 16 |
6413-OWS-26 | >24〜26 | 92 | 55 | 280 | 65 | 5,8 | 21 |
6413-OWS-28 | >26〜28 | 97 | 55 | 305 | 70 | 7,0 | 26 |
6413-OWS-32 | >28〜32 | 110 | 66 | 360 | 77 | 9,0 | 37 |
6413-OWS-36 | >32〜36 | 122 | 70 | 390 | 85 | 11,25 | 53 |
6413-OWS-40 | >36〜40 | 145 | 75 | 470 | 90 | 13,5 | 71 |
6413-OWS-45 | >41〜45 | 160 | 80 | 540 | 96 | 16,5 | 82 |
6413-OWS-50 | >45〜50 | 164 | 85 | 600 | 102 | 21,0 | 100 |
6413-OWS-56 | >50〜56 | 174 | 90 | 680 | 108 | 24,75 | 130 |
6413-OWS-65 | >56〜65 | 184 | 100 | 780 | 120 | 33,75 | 190 |